МОТОГОНКИ.РУ, 17 апреля 2026 - Основная идея Kawasaki, представленная на Миланском Мотосалоне EICMA-2023, заключается в двигателе внутреннего сгорания (ДВС), питаемом жидким водородом, а не бензином.

Kawasaki H2 HYSE на Ле-Мане 24
По прогнозам разработчиков Kawasaki, эта технология более жизнеспособна в мототехнике, нежели второй подход к использованию водорода в качестве топлива — у Honda и Bosch. Там речь про параллельный гибрид, в котором водородная установка генерирует электричество, а основная силовая — чистый EV (электромотор). Однако, идея Honda и Bosch жизнеспособна только в рамках полноразмерных шасси автомобиля, грузовика или фургона, ибо требует много места под саму силовую установку, а также большие баки с топливом.
Плотность энергии - последняя нерешенная проблема
Из того, что уже удалось наколдовать Kawasaki, силовая установка и сам двигатель на водороде вполне поместилась в рамках стандартного шасси большого турингового мотоцикла Kawasaki H2 SX. Надо сказать, что «H2» в этом контексте не было связано с водородом — так уж мотоцикл назывался с самого начала!
Единственная проблема, которую еще предстоит решить, это метод хранения топливного сжиженного водорода. Сжиженный водород необходимо подавать в ДВС под определенным постоянным давлением, но храниться он должен под еще большим давлением (до 700 атм) и при сверхнизких температурах (-253°C).

Идея хранения топливного водорода по версии Kawasaki - просто как идея
Калорийность бензина составляет порядка 32 МДж на 1 литр, тогда как у сжиженного водорода она лишь 5.6 МДж на 1 литр. В итоге, чтобы обеспечить безопасную транспортировку того же полезного объема жидкого водорода, сегодня требуется бак на 90 литров. Занавес?
Прототипная защищенная установка, которую использовали в Kawasaki (на фото) занимает два огромных кофра по бокам турера. И даже она вмещает не так много годного для использования топлива.
От прототипа — к реальным решениям
Несмотря на пока нерешенную проблему с системой хранения топлива, Kawasaki уже делает шаг к переходу от прототипирования мотоцикла к детальной проработке конкретных решений... в ожидании, что однажды сжиженный топливный водород можно будет купить за наличные.

Водородный двигатель Kawasaki H2 HYSE модели 2024 года
Первая версия водородного двигателя с турбиной модели 2024 года, которую использовали на демонстрационном прототипе Kawasaki H2 SX, как известно, была типа L4 (рядным, 4-цилиндровым). Этот мотоцикл показывали в Судзуке, потом привезли на 24 часа Ле-Мана и выставляли в Милане. Двигатель Kawasaki был представлен во всей красе, существует множество его фотографий и принципиальных схем.
Но всё это — прототип, который не станет серийной моделью.

Kawasaki H2 HYSE на Suzuka 8 Hours летом 2024 года
С ним слишком сложно. Как говорится, такой паровоз не полетит.
Как выглядит Kawasaki, который сможет
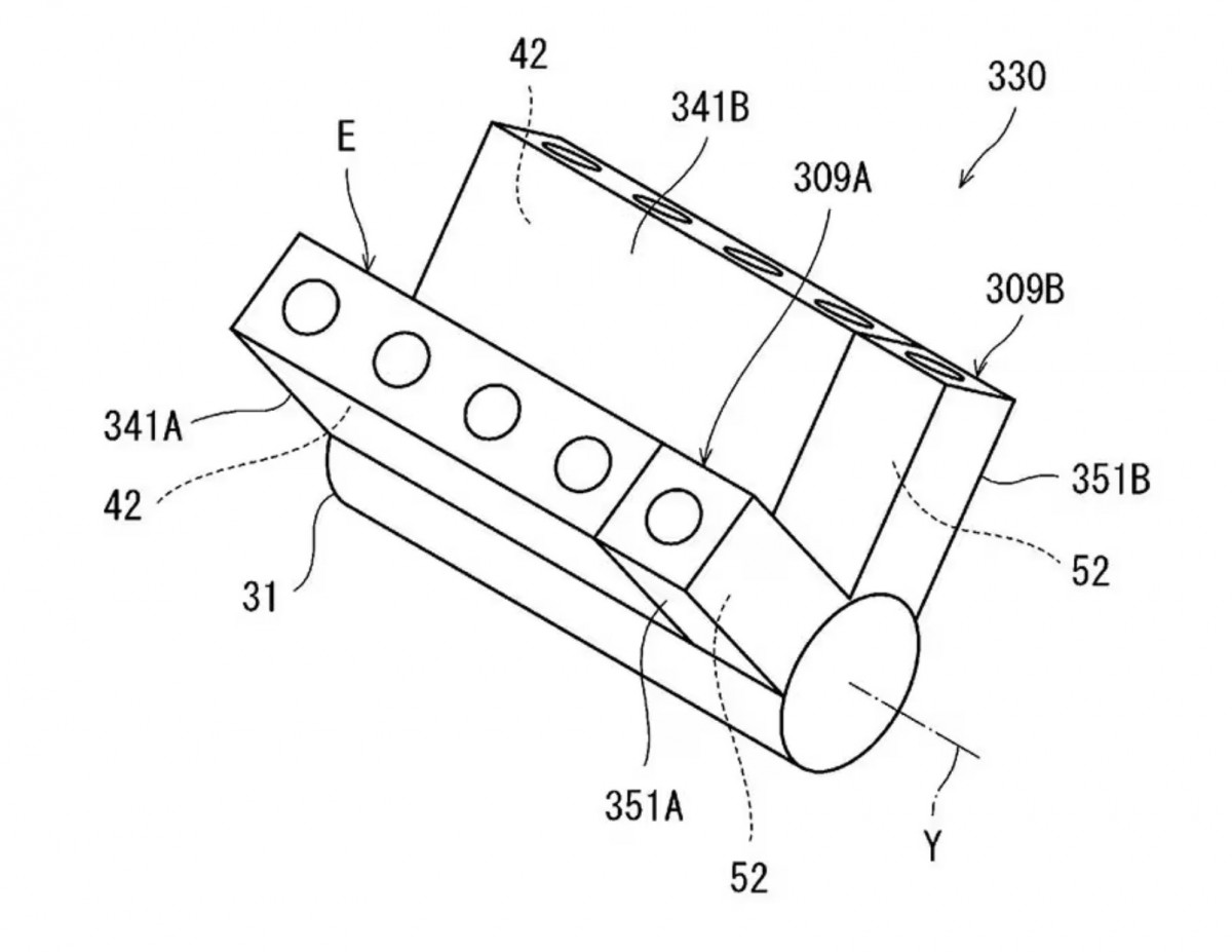
Согласно опубликованным CW патентным схемам, поданным японцами на регистрацию в 2026 году, принципиально новый полноразмерный ДВС Kawasaki H2 SX под водородную установку имеет форм-фактор V10 (V-образный 10-цилиндровый).

Новый патент Kawasaki H2 2026 года - двигатель V10
Эта схема, одновременно, и сложнее, и проще одновременно, чем то, что показали в 2024 году: в ней нет турбин, а принцип впрыска другой
Чтобы использовать сжиженный водород как топливо, требуется использование особой системы топливных насосов и инжекторов, в чем Kawasaki реально преуспели, и о чем свидетельствует следующая патентная схема:

Схема питания Kawasaki H2 модели 2026 года
Из топливного бака (голубой контур) сжиженный водород попадает в преобразователь (испаритель - зеленый контур), где его нагревают до рабочей температуры и подают с помощью роторного насоса в другой насос (красный контур), где происходит второе преобразование.
Судя по всему, это ключевая фаза: поршневой насос сжимает порцию водородной смеси до примерно 100 атм (или 1500 psi), что создает стабильные условия для впрыскивания смеси через инжектор прямо в камеру сгорания.
Водородно-воздушная смесь должна быть очень хорошо "упакована", чтобы она не превращалась в традиционный гремучий газ, крайне взрывоопасный, но совершенно не выгодный с точки зрения отдачи энергии (у него плотность всего 0.02 МДж).
Будущее по-прежнему где-то рядом!



